History of the Lake Pewaukee Sanitary District
Lake Pewaukee Sanitary District was formed in 1944.
- Garbage collection and septic system inspections begin the following year
- 1945 Chemical treatment begins. Arsenic and copper compounds are used
- 1946 Cutting with Hockney cutter. State board of health requires shore cleanup
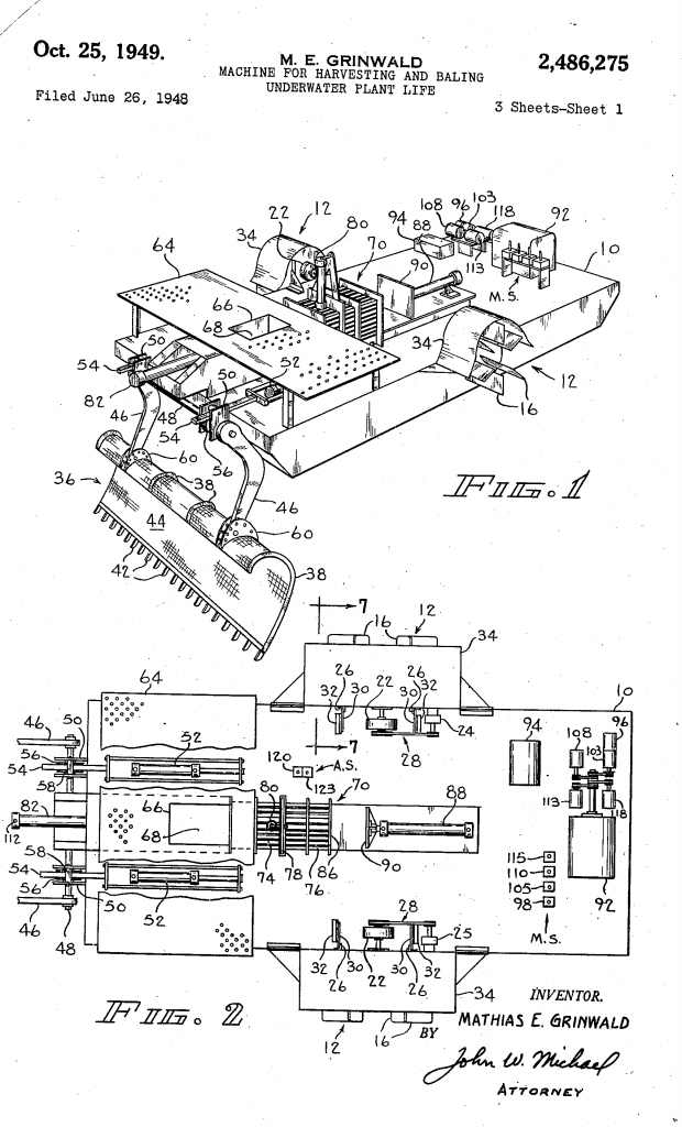
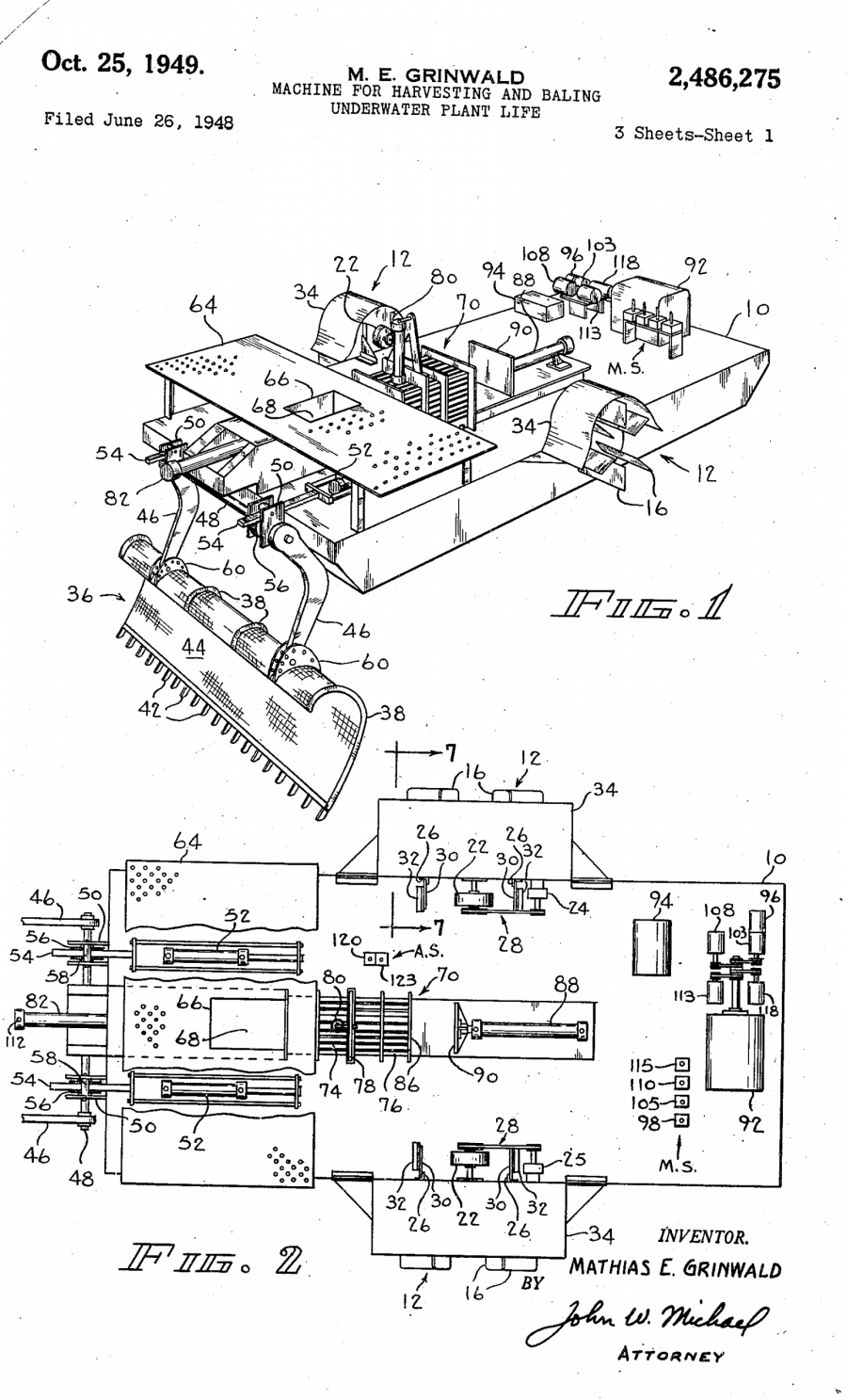
- 1947 First Aquatic plant harvester designed and built by Matt Grinwald


- 1963 District Discontinues use of arsenic compounds for aquatic plant control
- 1985 District discontinues use of chemicals
Additional Historical Links





